black blue

116D - ΣΤΟΜΙΟ ΚΩΝΙΚΟ ΣΥΣΤΟΛΙΚΟ DIN 11851

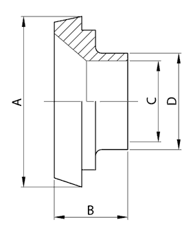
Συστολικό κωνικό στόμιο DIN 11851
Σχέδιο συστολικού στομίου DIN 11851
Διαστάσεις συστολικού στομίου DIN 11851
Αιμου 30 - 11855 Αθήνα - Τηλ.: 2103460551 - Fax: 2103466127- e-mail: sales@veltitech.com