black blue

111D - ΣΤΟΜΙΟ ΚΩΝΙΚΟ DIN 11851 ΓΙΑ ΕΚΤΟΝΩΣΗ

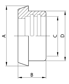
Στόμιο κωνικό εκτόνωσης DIN 11851
Σχέδιο κωνικού στομίου εκτόνωσης ΔΙΝ 11851
Διαστάσεις κωνικού στομίου εκτόνωσης DIN 11851
Αιμου 30 - 11855 Αθήνα - Τηλ.: 2103460551 - Fax: 2103466127- e-mail: sales@veltitech.com