black blue

111D - ΣΤΟΜΙΟ ΜΕ ΣΠΕΙΡΩΜΑ DIN 11851 ΓΙΑ ΕΚΤΟΝΩΣΗ

Στόμιο με σπείρωμα εκτόνωσης DIN 11851
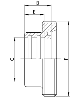
Σχέδιο στόμιου με σπέιρωμα εκτόνωσης DIN 11851
Διαστάσεις στομίου με σπείρωμα εκτόνωσης DIN 11851
Αιμου 30 - 11855 Αθήνα - Τηλ.: 2103460551 - Fax: 2103466127- e-mail: sales@veltitech.com